找回密码
 立即注册
澳门威尼斯人
U8
U18
海燕招商
A
蓝盾
e世博
islot.
申博亚洲
澳门银河
B
开云
腾博会
德信
C级广告商
吉祥坊
华体会
查看: 26500|回复: 74

[彩票] 【实战有奖】威尼斯人台湾宾果连挂后稳收,亏损2450止步

[复制链接]

91

主题

2万

回帖

8160

金币

铂金用户

积分
83471

老会员交易勋章魅力达人

发表于 2025-10-6 16:17 | 显示全部楼层 |阅读模式

马上注册,结交更多好友,享用更多功能,让你轻松玩转社区。

您需要 登录 才可以下载或查看,没有账号?立即注册

×
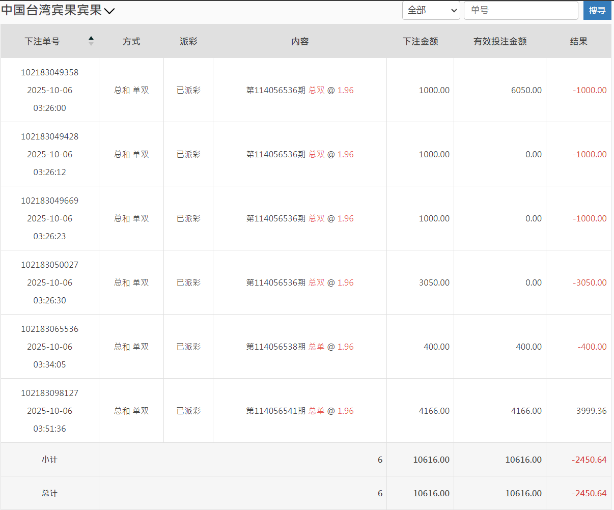
今天下午打了台湾宾果这一轮,整体过程挺曲折,但也算控制住了节奏。大概从下午三点左右开始进场,当时看走势总和“双”连开几期,手痒了,于是轻仓试单。原本打算随便玩玩,结果越看越不对劲,单双频繁切换,让人有点摸不清节奏。, Z( K. ?- i% H3 M1 k" @

2 O. o0 c' e" T6 p- {& ^, G" N3 X8 `这轮总共下了六单,前几把基本都在试探走势。结果连续几期都反着来,尤其是那笔3050的“总双”,被直接吃掉,账面一口气红到三千多。那一瞬间心态确实有点晃,手差点又去补仓。后来想到之前吃亏的经验,强行让自己停手,看完那期结果就去洗了个脸。! E1 b6 m% J' h, k* l  w2 o) _, x) ^

* c& E% E* e* M1 \: {0 O回来后重新看走势图,发现节奏有点回稳,于是再上两把“总单”试水。最后一单我加到4166,打的第114056541期,终于中回来了3999.36,这口气算是稳了。整盘下来,亏了2450左右,折合人民币不到两千。* K* [& G6 L5 q1 g! e

1 }# Z! A" i1 [; }5 f$ {账面上虽然是负的,但我个人觉得这轮打得比前几次更“成熟”——不是赢多少的问题,而是我终于没再乱追。这次BBIN那边转入了10616,转出回大厅时剩8165,虽然账面亏损,但过程有节制、心态稳,算是一次小考合格。! [# V3 F. E' q/ K7 ?7 Z0 b# E

: F0 X3 M* m! D7 }+ |过去我常常一看挂单就想加码“赢回来”,结果反而输更惨。现在我学会了一件事:赢钱靠机会,止损靠自律。只要不被情绪带走,长期来看反而能少损多赢。# a0 M. F3 `3 t& p

6 F$ E7 x  }8 O$ |/ ?5 W# c另外,这轮台湾宾果的走势挺诡异的,总和单双跳得快,没有出现连续7期以上的连号。下午那段时间尤其乱,建议后面玩这盘口的兄弟们注意节奏,不要被短线结果误导。可以像我这样——前几期用小注探路,等走势方向稳定后再加码。+ h, _3 t6 \# p0 g' t+ }
( U% B+ ^3 d& y8 V. N1 {! M) P# ~
这次我还特地看了下注明细,总金额10616,有效投注全打满,亏损-2450.64。虽然是红的,但我反而挺高兴,因为这说明我守住了底线:没追加、没爆仓。
: Q( R1 }. P; S7 J1 [  g2 C$ Q  F) q+ _3 `( P
最后总结一句:
* I2 O' f: c. w  Y输钱不可怕,乱输才可怕;稳得住,才是真正的赢。/ K& w7 `* T7 Q2 h
( R9 E, X) p* D$ |& c
这两天论坛不少人也在分享台湾盘的节奏,我的经验是——宁可打慢,也不要乱节奏。未来几天我会继续观察走势,等连号或规律性区间出来,再考虑加仓。今天就到这,休息一会,晚上再看情况。' }3 @5 ]7 t2 R
6 Z# j) y7 D* G7 \) D4 S0 E3 u
QQ20251006-160203.png QQ20251006-160102.png
: i! K1 ~, ]- f* t2 {1 s% i4 e/ m, |8 a4 c9 D! d* o) o. M+ L

; ]3 Q0 ]. B7 j# J' k
回复

使用道具 举报

1

主题

4994

回帖

4198

金币

金牌会员

积分
23389

老会员

发表于 2025-10-6 16:22 | 显示全部楼层
楼主亏损了还是要止损,回血了一大半还是挺不错了
回复 支持 反对

使用道具 举报

197

主题

6859

回帖

148

金币

银牌会员

积分
13995

老会员交易勋章

发表于 2025-10-6 17:56 | 显示全部楼层
你还玩这个啊,我是真没玩过这类彩票,是彩票没错吧,止损做到位就好
回复 支持 反对

使用道具 举报

8

主题

2万

回帖

5585

金币

铂金用户

积分
71680

光影行者

发表于 2025-10-6 19:37 | 显示全部楼层
3050那把真够呛,能忍住不补仓已经赢一半,节奏乱时洗脸是个好招
回复 支持 反对

使用道具 举报

3400

主题

4万

回帖

4128

金币

钻石用户

积分
116737

万时之王老会员勤奋勋章交易勋章

发表于 2025-10-6 19:48 | 显示全部楼层
老哥还是低调点吧, 亏损2450, 也是输太多了, 还是要及时收手,真不敢继续了
回复 支持 反对

使用道具 举报

3400

主题

4万

回帖

4128

金币

钻石用户

积分
116737

万时之王老会员勤奋勋章交易勋章

发表于 2025-10-6 19:49 | 显示全部楼层
蔬菜沙拉 发表于 2025-10-6 19:37& n4 i2 ?* Y! Q  D
3050那把真够呛,能忍住不补仓已经赢一半,节奏乱时洗脸是个好招
- s7 G- x& O2 r
玩菠菜还是量力而行吧, 别玩太大了, 输太多了, 也是很影响心情了。
回复 支持 反对

使用道具 举报

3400

主题

4万

回帖

4128

金币

钻石用户

积分
116737

万时之王老会员勤奋勋章交易勋章

发表于 2025-10-6 19:49 | 显示全部楼层
二电厂哥 发表于 2025-10-6 17:569 ^6 ~7 D9 X, T- {! P, |% A5 w; {
你还玩这个啊,我是真没玩过这类彩票,是彩票没错吧,止损做到位就好
; m4 q6 G5 |- N. l$ ^
亏损了2450也是输太多了, 这钱能干很多事的了啊, 也是很遗憾了。
回复 支持 反对

使用道具 举报

3400

主题

4万

回帖

4128

金币

钻石用户

积分
116737

万时之王老会员勤奋勋章交易勋章

发表于 2025-10-6 19:50 | 显示全部楼层
shunlifeiup 发表于 2025-10-6 16:22
4 q% e, h/ B7 ?' q& V! n# U楼主亏损了还是要止损,回血了一大半还是挺不错了

% o  T& [: n5 e* N6 ?损失惨重了呀, 输了这么多, 想回血都是很困难了啊, 还是休息冷静一下吧。
回复 支持 反对

使用道具 举报

383

主题

1563

回帖

2747

金币

铜牌用户

积分
9766

老会员交易勋章

发表于 2025-10-6 21:07 | 显示全部楼层
能够及时做到止损啊 还是很不容易的   及时调整吧!
回复 支持 反对

使用道具 举报

52

主题

2万

回帖

7432

金币

铂金用户

积分
85041

老会员光影行者

发表于 2025-10-7 02:34 | 显示全部楼层
别急着追,理性把握,稳住节奏,总会有赚钱的时候,节制至关重要
回复 支持 反对

使用道具 举报

52

主题

2万

回帖

7432

金币

铂金用户

积分
85041

老会员光影行者

发表于 2025-10-7 02:34 | 显示全部楼层
蔬菜沙拉 发表于 2025-10-6 19:37- Q; S: O0 `/ g/ n3 d' @, s
3050那把真够呛,能忍住不补仓已经赢一半,节奏乱时洗脸是个好招
* U- ~0 c% [2 u. K) b' k
3050那把确实有点狼狈,不过威尼斯人台湾宾果稳住节奏,亏损2450也算是及时止损
回复 支持 反对

使用道具 举报

2467

主题

8万

回帖

6354

金币

海燕硕士

积分
228215

老会员超级精华精华勋章美女勋章勤奋勋章交易勋章万时之王

发表于 2025-10-7 05:46 | 显示全部楼层
输掉了2000多块能够止损离开也是比较理智的一个人吧
回复 支持 反对

使用道具 举报

2467

主题

8万

回帖

6354

金币

海燕硕士

积分
228215

老会员超级精华精华勋章美女勋章勤奋勋章交易勋章万时之王

发表于 2025-10-7 05:46 | 显示全部楼层
whywhy 发表于 2025-10-7 02:34
4 \1 Y& \2 m! j0 ?3050那把确实有点狼狈,不过威尼斯人台湾宾果稳住节奏,亏损2450也算是及时止损 ...
" G/ Z/ \4 i& g: U6 d6 g9 A( r) Q+ r
反正自己的节奏要把握好,不然输的就是自己的钱
回复 支持 反对

使用道具 举报

2467

主题

8万

回帖

6354

金币

海燕硕士

积分
228215

老会员超级精华精华勋章美女勋章勤奋勋章交易勋章万时之王

发表于 2025-10-7 05:46 | 显示全部楼层
whywhy 发表于 2025-10-7 02:34# b: @" H' P% Y$ M4 V7 b
别急着追,理性把握,稳住节奏,总会有赚钱的时候,节制至关重要

8 E' U2 [  J, ?* j+ b& s% u这个节奏导致的亏损也是没有办法的事,毕竟输了这么多
回复 支持 反对

使用道具 举报

2467

主题

8万

回帖

6354

金币

海燕硕士

积分
228215

老会员超级精华精华勋章美女勋章勤奋勋章交易勋章万时之王

发表于 2025-10-7 05:46 | 显示全部楼层
莫扎特06 发表于 2025-10-6 19:49
' `5 d! J* A7 p% ]亏损了2450也是输太多了, 这钱能干很多事的了啊, 也是很遗憾了。
7 y: @3 [0 Y6 }5 ^" N; H+ T
输的太多也是要想办法把它搞回来,不然也是难受
回复 支持 反对

使用道具 举报

您需要登录后才可以回帖 登录 | 立即注册

本版积分规则

广告合作|福利汇|论坛简介|钱包教程|手机版|小黑屋|Archiver|海燕论坛

快速回复 返回顶部 返回列表